LZB/LZJ系列玻璃转子流量计广泛应用于化工、石油、轻工、医药、环保、食品及计量测试、科学研究等部门,测量单相非脉动流体(液体或气体)的流量。
LZB/( )F/LZJ-( )F系列耐腐玻璃转子流量计有较强的耐腐性能,可检测酸(氢氟酸除外)、碱、氧化剂和其它腐蚀性的气体或液体的流量,适用于化工、制药、造纸、污水处理等行业。

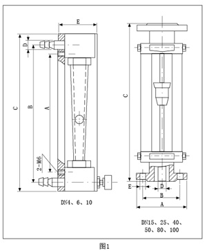
| 外形及安装尺寸 | |
![]() |
![]() |
|
原理与结构
|
|
![]() |
LZB/LZB-( )F流量计的锥管为光滑内壁管(见图4),通径DN15以上的流量计,浮子通过导杆 上下移动,保持稳定;LZJ/LZJ-( )F流量计锥管 内壁有三条导向凸筋,使浮子保持稳定(见图4)。 通径DN10以下的流量计采用软管连接,配有 针形流量调节阀;通径DN15以上流量计采用 法兰连接。
|
|
接触测量流体的零部件材质 |

型号规格及技术参数

全不锈钢型
法兰、浮子、导杆、支承板及螺栓等均为不锈钢304(1Cr18Ni9Ti),型号为LZB-( )B。
接液材质如需选用316,则型号为LZB-()Bo,需定做。
如需不锈钢内衬PTFE,则型号为LZB-()BF(或BoF),需定做。
全四氟型
基座、浮子、针阀采用聚四氟乙烯(PTTFE)。支承板、螺丝等采用





电磁流量计
人气:57864
孔板流量计
人气:15627
涡街流量计
人气:5663
蒸汽流量计
人气:4476
旋进旋涡流量计
人气:3441
金属管浮子流量计
人气:3159
液体涡轮流量计
人气:3046
平衡流量计
人气:2953
一体化孔板流量计
人气:2941
v锥流量计
人气:2851
